
VAC自成立起一直致力于高温高压阀门研发制造,设计生产的高温高压锻造闸阀,其阀芯、阀座、密封等产品结构设计,材料处理,生产工艺等,使其阀门具有良好的防水汽冲蚀性能,适用于各种严酷工况。
阀体内部圆形介质通道,能够对介质流速产生最小的影响,使得在相同管径的情况下压力损失达到最小。
楔形双闸板不仅通过闸板楔入阀座形成紧拴力,而且依靠背后压差形成可靠密封隔断。
为防止介质温度上升使得阀体中腔内残留的液体汽化造成中腔超压,专门设置了中腔卸压的结构或装置。
实践证明,VAC高温高压锻造闸阀的产品及服务久经时间考验,是真正值得信赖的。
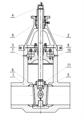
高温高压闸阀设计特点
●压力自密封阀盖
●弹性楔形双闸板设计,提供严密的密封隔断
●阀门、阀座采用stellite堆焊,使用寿命长
●标志性的球形下阀体的卡箍结构
●阀门拆装简易,便于现场维护